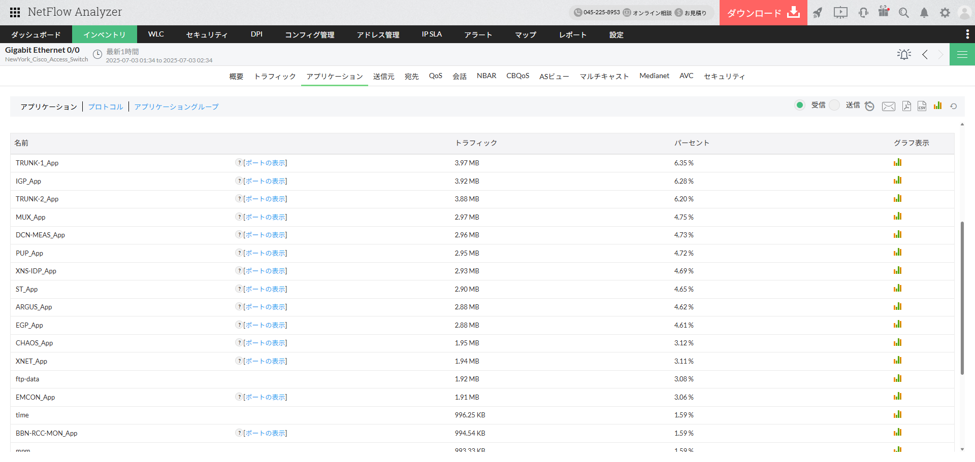
アプリケーション
「アプリケーション」タブには、選択期間に特定インターフェースを通過したアプリケーションがすべて表示されます。「受信」と「送信」のいずれかを選択し、ウィジェットの上のラジオ ボタン
を使用すると、選択したインターフェースの受信トラフィックや送信トラフィックにおける、それぞれのアプリケーションの分布を表示できます。アプリケーションのデフォルトのビューには受信トラフィックの詳細が表示されます。監視を軽快に行うには、アプリケーションをアプリケーション グループやトップ サイトにグループ化してください。
グラフ
リスト
アプリケーション レポート
レポートには、受信トラフィックと送信トラフィックの、アプリケーション分布が表示されます。アプリケーションのリストでは、トラフィックの量や占有するネットワーク トラフィックの合計割合とともに、最大ネットワーク トラフィックを発生させているトップ アプリケーションが順番に表示されます。アプリケーション名をクリックするとトラフィックの詳細レポートが強調表示されます。
アプリケーション名の横にある「ポートの表示」は、NetFlow Analyzerがまだそのアプリケーションを特定していないことを示しています。「ポートの表示」をクリックすると、ウィンドウが開いてこのアプリケーションのポートとプロトコルの詳細が表示されます。有効なアプリケーションである場合は、「アプリケーション マッピング」ページのアプリケーションのリストに追加できます。
![]() |
「ポートの表示」は、最新1時間のレポートでのみ不明なアプリケーションの横に表示されます。
|
アプリケーション名をクリックすると、このアプリケーションのトラフィックを増やしているトップ通信(会話)が表示されます。
アイコンでは、レポートをPDFにエクスポートできます。
アプリケーション グループ
このレポートには、各種アプリケーションをグループ化して見やすく表示します。アプリケーションは単一のエンティティにグループ化されます。
アプリケーション グループの作成
アプリケーション グループを作成するには、[設定]→[フロー解析]→[グループ設定]→[アプリケーション グループ]の順に移動してください。
- 「アプリケーション グループ」を選択します。
- 「追加」をクリックして、新しいアプリケーション グループを作成します。
- グループ名、グループに関する説明を指定し、グループ化するアプリケーションを選択します。
- 「保存」をクリックしてアプリケーション グループを表示します。
これで新しいアプリケーション グループが作成されます。
サブアプリケーションを追加する
「サブアプリを追加」では、サブアプリケーションを「トップ サイト」タブの下のアプリケーション リストに追加できます。これにより、IPアドレス、レンジ、またはネットワークに名前を追加し、アプリケーション名に関連付けることができます。これは、特定のアプリケーションにアクセスしたIPネットワーク、レンジ、またはアドレスを特定するのに役立ちます。
トップ プロトコルを表示する
下向き矢印をクリックして「プロトコル」リンクを選択し、装置レポート ビューで選択した装置のトップ プロトコルを表示します。
「受信」か「送信」を選択すると、送受信それぞれのトラフィックを、プロトコル分布の観点から表示します。
![]() |
このレポートでは、使用されるプロトコルにもとづいてトラフィックをソートします。一方、「アプリケーション受信/送信レポート」では、アプリケーション、すなわち、ポートとプロトコルの組み合わせにもとづいてトラフィックをソートします。
|
円グラフには、各プロトコルが使用している帯域の割合が表示されます。ここから
アイコンをクリックしてPDFとしてレポートをエクスポートできます。
IPv6のサポート
IPv6は、IPv4の後継として設計された新バージョンのインターネット プロトコルです。IPv6は、より多くのレベルのアドレス階層をサポートするために、IPアドレスのサイズを32ビットから128ビットに増やしまています。
NetFlow AnalyzerはIPv6に対応済みです。最新2時間のロー データ レコードをIPv6形式で表示できます。IPv6のアドレス指定形式は、世界の大多数のユーザーに適用されているというわけではないため、IPv6形式をサポートするのはロー データ レベルに留めてあります。最新2時間のトップ10個のアプリケーション、送信元、宛先向けに収集されたロー データは、IPv6形式で表示できます。
